Information about the picture
Date   2006
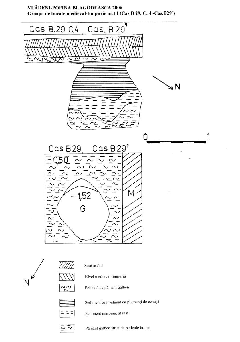
Published source   Chronicle of the Archaeological Excavations in Romania, 2006 Campaign - Report no. 207
Internet reference  
 
Sites linked to the picture
Site Information   Display on the map of Romania*
RAN Code   94802.03
LMI Code (List of Historic Monuments) History Monuments List of 2010   IL-I-s-B-14069
Name   Aşezarea medievală de la Vlădeni - Coasta Belciugului
County   Ialomiţa
Commune   Vlădeni
City/Town/Village   Vlădeni
Place   Coasta Belciugului
Landmark   Punctul Coasta Belciugului se află în partea de nord-vest a comunei Vlădeni, la circa 4 km spre satul Hagieni, pe un prival, în lunca Ialomiţei.
Geomorphology   terasă
Land utility   agricultură
   
|<<
<
68 / 87
>
>>|
Image taken from the Chronicle of the Archaeological Excavations in Romania, 2006 Campaign. Report no. 207
Scroll