Information about the picture
Author   Dardu Nicolaescu-Plopșor, Wanda Wolski
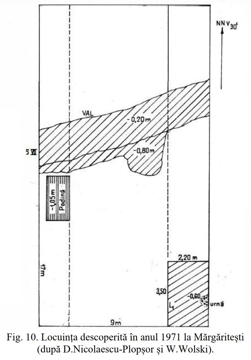
Title   Locuința descoperită în anul 1971 la Mărgăritești, cu indicarea locului urnei funerare
Type   desen
Description   Planul unei secțiuni din 1971, în apripierea valului de apărare. În apropierea valului a fost cercetată o locuință de mici dimensiuni, cu o urnă funerară identificată în colțul de nord-est.
Date of the image   1971
Source   Bondoc Dorel, Cetatea getică de la Mărgăritești, județul Olt: studiu arheologic, 2021, fig 10
 
Sites linked to the picture
Site Information   Display on the map of Romania*
RAN Code   130099.01
LMI Code (List of Historic Monuments) History Monuments List of 2010   OT-I-s-B-08517
Name   Situl arheologic de la Mărgăriteşti - La Cetate
County   Olt
Commune   Voineasa
City/Town/Village   Mărgăriteşti
Place   La Cetate
Landmark   Situl este localizat pe dealul din marginea de V a satului, pe terasa Olteţului.
Geomorphology   deal
Land utility   agricultură
   
|<<
<
7 / 9
>
>>|
Scroll